欢迎访问西安知识产权运营服务平台

< a href=' '>web对话
  • 一种基于双超短光纤光栅的悬芯超声传感器及其制作方法
一种基于双超短光纤光栅的悬芯超声传感器及其制作方法 授权有效中;
  • 专利(申请)号: CN202210367468.9
  • 专利类型: 发明;
  • 主分类: G物理;
  • 产业领域: 电子
  • 专利来源: 高校;
  • 申请日: 2022-04-08
  • 原始申请人: 西北大学
  • 当前专利权人: 西北大学
  • 交易方式: 转让;
  • 其他交易方式:
  • 参考价格(元): ¥50000
  • 联系方式: 远诺龚雪-18329540641

摘要
【 中文摘要 】

本发明提供了一种基于双超短光纤光栅的悬芯超声传感器及其制作方法,包括悬芯光纤和单模光纤,悬芯光纤包括光纤外壳和设置在光纤外壳中心的纤芯,光纤外壳一端经酸溶液腐蚀形成凹槽;纤芯的一部分位于凹槽内构成自由悬芯,并在其上刻写第一超短光纤光栅;纤芯的另一部分包裹于光纤外壳内部构成固定芯,固定芯上刻写第二超短光纤光栅;单模光纤与固定芯所处的悬芯光纤一端连接。该悬芯超声传感器的双超短光纤光栅的光反射率大于光纤熔接面和光纤端面的光反射率,传感光谱具有更小的光谱损耗,且双超短光纤光栅的组合形成带宽可调谐且更窄的干涉光谱,可实现高灵敏度的边带滤波超声解调。

 【 英文摘要 】

The present invention provides a suspended-core ultrasonic sensor based on a double ultra-short fiber grating and a manufacturing method thereof. The suspended-core ultrasonic sensor comprises a suspended-core optical fiber and a single-mode optical fiber, wherein the suspended-core optical fiber comprises an optical fiber shell and a fiber core arranged in the center of the optical fiber shell, and one end of the optical fiber shell is corroded by an acid solution to form a groove; A part of the fiber core is positioned in the groove to form a free suspension core, and a first ultra-short fiber grating is inscribed on the free suspension core; The other part of the fiber core is wrapped in the fiber shell to form a fixed core, and a second ultra-short fiber grating is inscribed on the fixed core; The single-mode optical fiber is connected to one end of the suspended core optical fiber where the fixed core is located. The optical reflectance of the double ultra-short fiber gratings of the suspended core ultrasonic sensor is larger than that of the optical fiber welding surface and the optical fiber end surface, a sensing spectrum has smaller spectrum loss, and the combination of the double ultra-short fiber gratings forms a narrower interference spectrum with tunable bandwidth, so that high-sensitivity sideband filtering ultrasonic demodulation can be realized.

 技术摘要(来自于incoPat
 【 用途 】
光学工程光栅双超短光纤光栅
测量实验传感器悬芯超声传感器
能源矿物勘探方法油气勘探;地球物理勘探
 【 技术功效 】
技术功效句
具有高空间分辨率特征; 极小的悬芯直径可大幅提升其对超声应变的响应灵敏度; 可实现高灵敏度的边带滤波超声解调; 极小的悬芯直径可大幅提升其检测空间分辨率; 具有高检测灵敏度特征; 传感光谱具有更小的光谱损耗
技术功效短语
高空间分辨率; 提升响应灵敏度; 实现解调滤波超声; 实现带滤波超声; 提升空间分辨率; 高检测灵敏度; 损耗小
技术功效1级
高空间分辨率; 灵敏度; 超声; 分辨率; 高检测灵敏度; 损耗
技术功效2级
高空间分辨率; 灵敏度提高; 超声; 分辨率提高; 高检测灵敏度; 损耗降低
技术功效3级
高空间分辨率; 响应灵敏度提高; 实现解调滤波超声; 实现滤波超声; 空间分辨率提高; 高检测灵敏度; 损耗降低
技术功效TRIZ参数
28-测量精度;23-物质损失;
 分类号
 【行业分类】
国民经济行业分类
制造业
国民经济行业(主)
制造业
新兴产业分类
电子核心产业 新技术与创新创业服务
新兴产业(主)
新技术与创新创业服务
知识密集型分类
信息通信技术制造业 新装备制造业
学科分类
清洁能源产业分类
太阳能产业
数字经济核心产业分类
数字产品制造业
 专利历程
  • 2022-04-08
    申请日
    CN202210367468.9(当前专利)
    申请号
  • 2022-07-12
    首次公开日
    CN114740525A
    首次公开号
  • 2023-09-29
    授权公告日
    CN114740525B(当前专利)
    授权公告号
  • 2042-04-08
    预估到期日
    计算因素 
 同族专利
同族专利公开号
扩展同族公开号
DocDB公开号
 其他著录项
代理机构西安铭泽知识产权代理事务所(普通合伙) 61223
代理人姬莉
申请语言汉语
审查员王新有
 权利要求

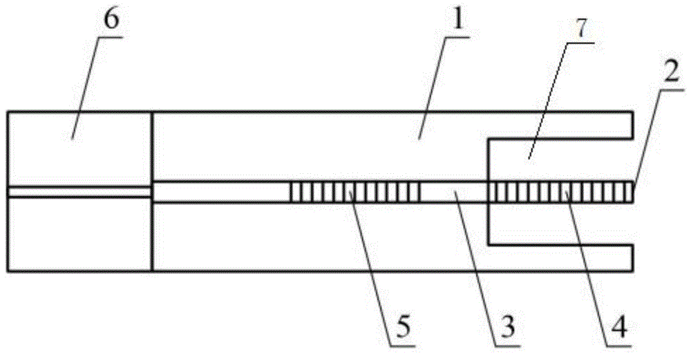
1.一种基于双超短光纤光栅的悬芯超声传感器,其特征在于,包括:
悬芯光纤,包括光纤外壳(1)和沿长度方向设置在所述光纤外壳(1)中心的纤芯;
所述光纤外壳(1)一端经酸溶液腐蚀形成凹槽(7);
所述纤芯的一部分位于所述凹槽(7)内构成自由悬芯(2),所述自由悬芯(2)上刻写第一超短光纤光栅(4);所述纤芯的另一部分包裹于所述光纤外壳(1)内部构成固定芯(3),所述固定芯(3)上刻写第二超短光纤光栅(5);
以及,单模光纤(6),与所述固定芯(3)所处的悬芯光纤一端连接;
传感激光经所述单模光纤(6)传输至悬芯光纤,传感激光在悬芯光纤中传输时,一部分传感激光被所述固定芯(3)中的第二超短光纤光栅(5)反射,剩余传感激光透过第二超短光纤光栅(5)而继续沿悬芯光纤传输;当传感激光传输至第一超短光纤光栅(4)处,部分传感激光再次被反射;由于第二超短光纤光栅(5)和第一超短光纤光栅(4)反射而生成的两束反射激光,再次耦合至单模光纤(6)输出,形成带宽可调谐且极窄的干涉光谱;
所述悬芯光纤的长度为5~10cm;
所述凹槽(7)的酸腐蚀时间为4~7min,所述凹槽(7)内的自由悬芯(2)的长度为150~400μm;
使用飞秒激光逐点刻写法在所述自由悬芯(2)上刻写第一超短光纤光栅(4),所述第一超短光纤光栅(4)的长度与所述自由悬芯(2)长度相同,第二超短光纤光栅(5)的光学参数与第一超短光纤光栅(4)相同。

2.根据权利要求1所述的基于双超短光纤光栅的悬芯超声传感器,其特征在于,使用飞秒激光逐点刻写法在所述固定芯(3)上刻写第二超短光纤光栅(5)。

3.根据权利要求1所述的基于双超短光纤光栅的悬芯超声传感器,其特征在于,所述第二超短光纤光栅(5)与第一超短光纤光栅(4)的轴向间距为500~5000μm。

4.一种如权利要求1至3任一项所述的基于双超短光纤光栅的悬芯超声传感器的制作方法,其特征在于,包括以下步骤:
将具有多空气孔特征的微结构光纤的一端浸入酸溶液中,利用毛细效应将酸溶液吸附到微结构光纤的空气孔中,从而除去部分空气孔微结构而余下位于光纤中轴线的自由悬芯(2);
使用无水乙醇彻底清洗已腐蚀的微结构光纤,晾干后将其另一未腐蚀端与单模光纤(6)对芯熔接,得到单模光纤与微结构光纤的级联结构,此级联结构的末端即为悬芯光纤;
使用飞秒激光逐点刻写法在自由悬芯(2)上刻写第一超短光纤光栅(4),第一超短光纤光栅(4)的长度与自由悬芯(2)的长度相同;
使用飞秒激光逐点刻写法在悬芯下游未腐蚀的固定芯(3)上刻写第二超短光纤光栅(5)。

5.根据权利要求4所述的基于双超短光纤光栅的悬芯超声传感器的制作方法,其特征在于,所述悬芯光纤长度为5~10cm。

6.根据权利要求5所述的基于双超短光纤光栅的悬芯超声传感器的制作方法,其特征在于,所述凹槽(7)的酸腐蚀时间为4~7min,所述凹槽(7)内的自由悬芯(2)的长度为150~400μm,所述第一超短光纤光栅(4)的长度与所述自由悬芯(2)长度相同。

7.根据权利要求6所述的基于双超短光纤光栅的悬芯超声传感器的制作方法,其特征在于,所述第二超短光纤光栅(5)的光学参数与所述第一超短光纤光栅(4)相同,所述第二超短光纤光栅(5)与所述第一超短光纤光栅(4)的轴向间距为500~5000μm。

×
发送意向

申请须知:申请人无需注册账号即可提交交易意向,交易意向一经提交不可查询或更改,请准确填写相关信息;平台运营人员将在3-5个工作日内查看交易意向并与您联系,感谢阅读。