欢迎访问西安知识产权运营服务平台

< a href=' '>web对话
  • 全光一体式宽频超声检测装置及制备方法
全光一体式宽频超声检测装置及制备方法 授权有效中;
  • 专利(申请)号: CN202011084948.1
  • 专利类型: 发明;
  • 主分类: G物理;
  • 产业领域: 新装备制造
  • 专利来源: 高校;
  • 申请日: 2020-10-12
  • 原始申请人: 西北大学
  • 当前专利权人: 西北大学
  • 交易方式: 转让;
  • 其他交易方式:
  • 参考价格(元): ¥50000
  • 联系方式: 远诺龚雪-18329540641

摘要
【 中文摘要 】

全光一体式宽频超声检测装置及制备方法,包括L型壳体,L型壳体包括竖直段与水平段,竖直段上沿竖直方向开设有第一通孔,水平段沿竖直方向开设有第二通孔:第二通孔底部设置有圆形谐振腔,圆形谐振腔与第二通孔同轴,圆形谐振腔下端与水平段下端齐平,圆形谐振腔下端粘接有圆形第二铜箔;第一通孔内竖直设置有高功率光纤,第一通孔下端粘接有圆形第一铜箔;第二通孔内竖直设置有光纤陶瓷插芯跳线。本发明利用光纤传输纳秒脉冲激光并辐照铜箔,为岩石物理模型超声检测提供超声波源,利用铜箔与光纤端面构建光干涉结构并采集超声回波;二者通过优化设计的L型一体化结构稳定结合,具有灵活便携的特点。

 【 英文摘要 】

The invention relates to an all-optical integrated broadband ultrasonic detection device and a preparation method thereof. comprising an L-shaped housing, the L-shaped shell comprises a vertical section and a horizontal section, a first through hole is formed in the vertical section along the vertical direction, a second through hole is formed in the horizontal section along the vertical direction, a circular resonant cavity is arranged at the bottom of the second through hole, the circular resonant cavity is coaxial with the second through hole, the lower end of the circular resonant cavity is flush with the lower end of the horizontal section, and a circular second copper foil is adhered to the lower end of the circular resonant cavity; High-power optical fiber is vertically arranged in the first through hole, and a circular first copper foil is adhered to the lower end of the first through hole; An optical fiber ceramic ferrule jumper wire is vertically arranged in the second through hole. The present invention utilizes optical fiber to transmit nanosecond pulse laser and irradiate copper foil to provide ultrasonic source for ultrasonic detection of rock physical model, utilizes copper foil and optical fiber end face to construct optical interference structure and collect ultrasonic echo; The two parts are stably combined through an optimally designed L-shaped integrated structure and have the characteristics of flexibility and portability.

 技术摘要(来自于incoPat)
 【 用途 】
测量实验检测设备全光集成宽带超声检测装置
 【 技术功效 】
技术功效句
具有灵活便携的特点
技术功效短语
灵活便携
技术功效1级
灵活性
技术功效2级
灵活性提高
技术功效3级
便携灵活性提高
技术功效TRIZ参数
35-适应性、通用性;
 分类号
 【技术分类】
主分类号
IPC分类号
CPC分类号
 【行业分类】
国民经济行业分类
制造业
国民经济行业(主)
制造业
知识密集型分类
新装备制造业 医药医疗产业 环保产业
学科分类
清洁能源产业分类
核电产业 风能产业 太阳能产业 生物质能产业 水力发电产业 智能电网产业 其他清洁能源产业
数字经济核心产业分类
数字产品制造业 数字技术应用业
 专利历程
  • 2020-10-12
    申请日
    CN202011084948.1(当前专利)
    申请号
  • 2021-01-15
    首次公开日
    CN112229909A
    首次公开号
  • 2022-01-11
    授权公告日
    CN112229909B(当前专利)
    授权公告号
  • 2040-10-12
    预估到期日
    计算因素 
 其他著录项
代理机构西安铭泽知识产权代理事务所(普通合伙) 61223
代理人王力文
申请语言汉语
审查员尤丰光
 首项权利要求


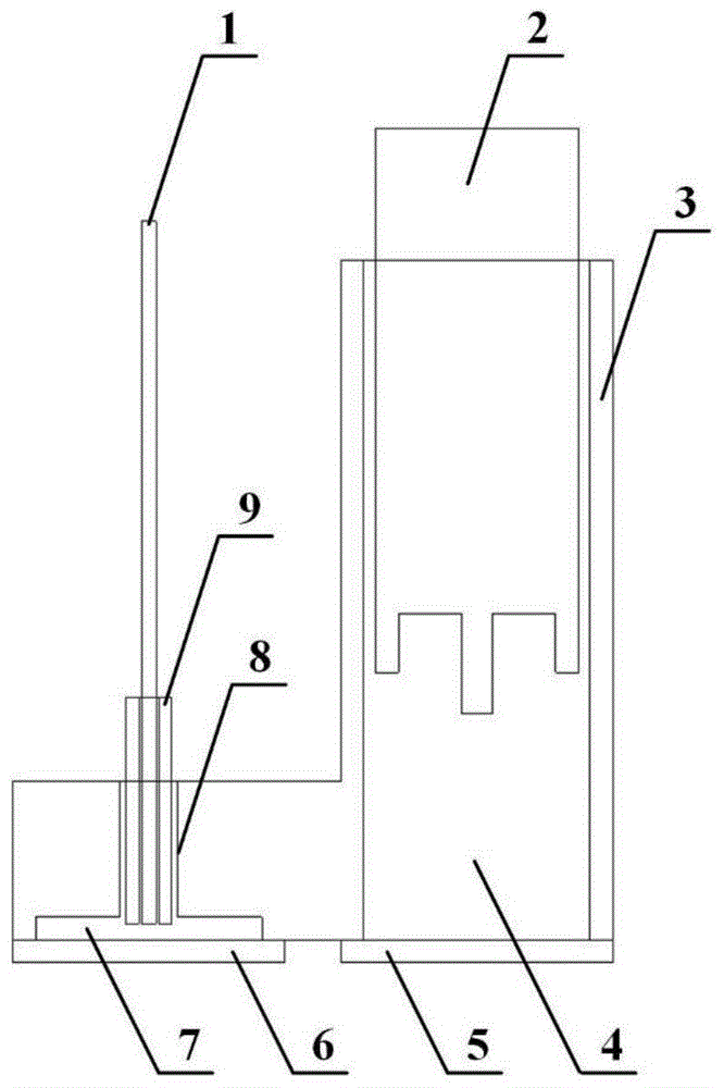
1.一种用于岩体物理模型的全光一体式宽频超声检测装置,其特征在于,包括L型壳体(3),L型壳体包括竖直段与水平段,竖直段上沿竖直方向开设有第一通孔(4),水平段沿竖直方向开设有第二通孔(8):第二通孔(8)底部设置有圆形谐振腔(7),圆形谐振腔(7)与第二通孔(8)同轴,圆形谐振腔(7)下端与水平段下端齐平,圆形谐振腔(7)下端粘接有圆形第二铜箔(6);
第一通孔(4)内竖直设置有高功率光纤(2),第一通孔(4)下端粘接有圆形第一铜箔(5);
第二通孔(8)内竖直设置有光纤陶瓷插芯跳线;高功率光纤(2)作为纳秒脉冲激光器的激光传输光纤;
L型壳体(3)的材质为工程塑料或光敏树脂;
第一通孔(4)与圆形第一铜箔(5)同轴;
圆形谐振腔(7)与圆形第二铜箔(6)同轴;
第一通孔(4)直径为10mm、长度为25~35mm;第二通孔(8)直径为2.6mm、长度为3~8mm;
圆形谐振腔(7)的直径为10mm、厚度为0.4~1mm;
高功率光纤(2)的纤芯直径为200~900μm;
高功率光纤(2)的尾纤端面与第一铜箔(5)的上表面之间的距离设置为10~20mm;第一铜箔(5)的厚度为0.1~0.5mm,直径为11~12mm;
第二铜箔(6)的厚度为0.05~0.5mm,直径为11~12mm。

2.根据权利要求1所述的一种用于岩体物理模型的全光一体式宽频超声检测装置,其特征在于,光纤陶瓷插芯跳线包括传感光纤(1)和陶瓷插芯(9),陶瓷插芯(9)包裹在传感光纤(1)上,陶瓷插芯(9)的外径为2.5mm,长度为10mm。

3.根据权利要求1所述的一种用于岩体物理模型的全光一体式宽频超声检测装置,其特征在于,光纤陶瓷插芯跳线的尾纤端面与第二铜箔(6)的上表面之间的距离为200~300μm。

4.根据权利要求1所述的一种用于岩体物理模型的全光一体式宽频超声检测装置的制备方法,其特征在于,包括以下步骤:
S1、采用3D打印技术制作L型壳体(3),L型壳体包括竖直段与水平段,在竖直段沿竖直方向开设有第一通孔(4),在水平段沿竖直方向开设有第二通孔(8):第二通孔(8)底部设置有圆形谐振腔(7),圆形谐振腔(7)与第二通孔(8)同轴,圆形谐振腔(7)下端与水平段下端齐平;
S2、将高功率光纤(2)从第一通孔(4)上端垂直穿入,第一通孔(4)下端粘接有同轴圆形第一铜箔(5);
S3、将光纤陶瓷插芯跳线从第二通孔(8)上端垂直穿入,在圆形谐振腔(7)下端粘接有同轴圆形第二铜箔(6)。

×
发送意向

申请须知:申请人无需注册账号即可提交交易意向,交易意向一经提交不可查询或更改,请准确填写相关信息;平台运营人员将在3-5个工作日内查看交易意向并与您联系,感谢阅读。